Detail Information WAF 563
Reverse-reduction gearbox for propulsion with fixed pitch propeller
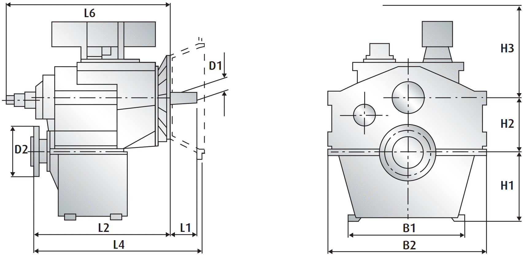
| B1 | B2 | H1 | H2 | H3 | D1 | D2 | D4_0 | D4_00 | L1 | L2 | L4_0 | L4_00 | L6 |
|---|---|---|---|---|---|---|---|---|---|---|---|---|---|
| 570.0 mm | 920.0 mm | 475.0 mm | 410.0 mm | 550.0 mm | 75.0 mm | 350.0 mm | 647.7 mm | 787.4 mm | 97.0 mm | 820.0 mm | 941.0 mm | 957.0 mm | 1060.0 mm |
| Description | Format | Download | View |
|---|---|---|---|
| Installation; WAF (LAF) 562 V K21 SAE00; Mount: rigid, brackets; Ctl: mechanical |
|
|
|
| Installation; WAF (LAF) 562 V K21 SAE00; Mount: rigid, brackets; Ctl: mechanical | ZIP |
|
|
| Installation; WAF (LAF) 562 V SAE0; Mount: rigid, brackets; Ctl: electrical ShBr |
|
|
|
| Installation; WAF (LAF) 562 V SAE0; Mount: rigid, brackets; Ctl: electrical ShBr | ZIP |
|
|
| Installation; WAF (LAF) 562 V K21 SAE0; Mount: rigid, brackets; Ctl: electrical |
|
|
|
| Installation; WAF (LAF) 562 V K21 SAE0; Mount: rigid, brackets; Ctl: electrical | ZIP |
|
|
| Installation; WAF (LAF) 562 V K21; Mount: rigid, brackets; Ctl: electrical |
|
|
|
| Installation; WAF (LAF) 562 V K21; Mount: rigid, brackets; Ctl: electrical | ZIP |
|
|
| Installation; WAF (LAF) 562 V; Mount: rigid, brackets; Ctl: electrical ShBr |
|
|
|
| Installation; WAF (LAF) 562 V; Mount: rigid, brackets; Ctl: electrical ShBr | ZIP |
|
|
| BV 2673; standard options for WAF 563 |
|
|
Please login to view or download files