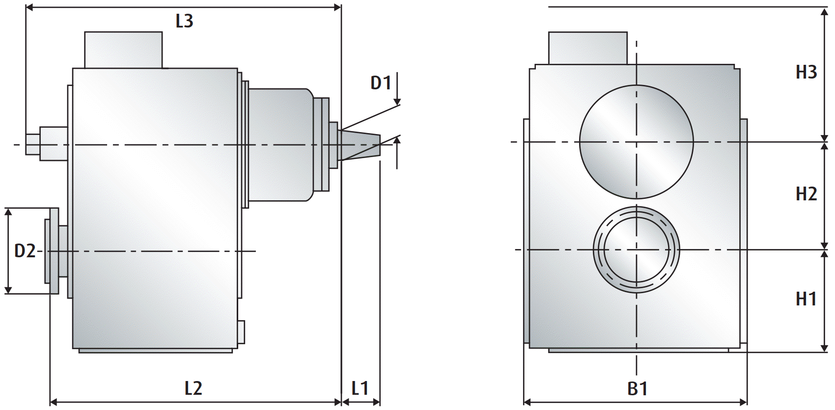
Detail Information VLJ 930/1
Reduction gear for water jet propulsion
| B1 | H1 | H2 | H3 | D1 | D2 | L1 | L2 | L3 |
|---|---|---|---|---|---|---|---|---|
| 720.0 mm | 350.0 mm | 340.0 mm | 500.0 mm | 102.0 mm | 280.0 mm | 120.0 mm | 870.0 mm | 1125.0 mm |
| Description | Format | Download | View |
|---|---|---|---|
| Installation; VLJ 930/1 V K31; Mount: rigid, brackets; Ctl: electrical |
|
|
|
| Installation; VLJ 930/1 V K31; Mount: rigid, brackets; Ctl: electrical | ZIP |
|
|
| BV 2673; standard options for VLJ 930/1 |
|
|
Please login to view or download files